卡特CAT发动机燃气压力调节器故障原因诊断与排除分析维修分享

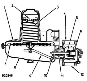
调节器操作图(典型示意图)
(1)弹簧侧室(2)调节螺丝(3)弹簧(4)出口(5)阀盘(6)主喷嘴(7)主通风口(8)控制杆侧室(9)控制杆(10)锁销(11)阀杆(12)进气口
燃气压力调节器的功能是维持气压调节器出口(与化油器燃料入口相连)和化油器燃料入口间的压力差。一些G3500卡特CAT发动机配备了高压调节器。以下是对高压气体调节器操作的说明。

气体经过进气口(12)、主喷嘴(6)、阀盘(5)和出口(4)。出口压力在控制杆一侧主通风口(7)的控制杆侧室(8)被感应。
当控制杆侧室(8)的气压比弹簧(3)压力和涡轮增压器增压要大时,通风口被弹簧推开。这将在锁销(10)部位推动控制杆(9),并引起阀杆向阀盘方向以闭合进气喷嘴。
当进气喷嘴关闭后,燃气被从控制杆侧室吸向出口。这就能减小控制杆侧室内气压。控制杆侧室内的气压要低于弹簧侧室的气压。在弹簧侧室内的弹簧弹力和涡轮增压器推力将通风口向控制杆移动。这将使转动控制杆(支点),打开阀盘,允许更多的燃气气流进入化油器。

化油器操作图(典型示意图)
(1)盖(2)隔膜(3)弹簧(4)气阀(5)气阀体(6)燃气进入体(7)燃气阀(8)传动螺杆(9)板块(10)节流板
注:此处描述的是单气阀化油器的操作。双气阀化油器的操作与单气阀化油器操作相同。
在不增压卡特CAT发动机上,空气流经空气过滤器进入化油器空气管道。在涡轮增压卡特CAT发动机上,空气被吸入卡特CAT发动机,流经空气过滤器到达化油器涡轮增压器,而后被推入后冷却机核到达化油器空气管道。在空气管道中,空气环绕气阀体(5)流动,然后被推入隔膜(2),再向下流经气阀中央,环绕燃气进气体(6),通过节流板(10)最后进入卡特CAT发动机。

燃料通过燃气进入体(6)流入中央的化油器。燃料由燃气进入体(6)顶部流出,与空气混合,然后在环绕燃气进入体流动,通过节流板进入卡特CAT发动机。燃气阀(7)与气阀相连,设计用来在气阀处于空转与全负载之间的任何情况下都能让适量的燃料流入化油器。因而,在低转速或空转情况下,燃气阀(7)让燃料的以最小程度流入,并适当减少空气燃料混合物流量。当卡特CAT发动机转速增加,负载加大,燃气阀(7)可以让更多的燃料流入,并加大空气燃料混合物的流量。当卡特CAT发动机停机时,弹簧(3)将燃气阀向下拉,阀座处于关闭位置,这时没有燃料能够进入化油器。当燃气阀处于与阀座最远距离时,传动螺杆(8)和板块(9)能够将燃料的输入达到全负载状态。

当卡特CAT发动机起动后,活塞的吸入冲程会引起汽缸内处于真空,这将产生一个比化油器内气压要低的气压环境。气阀体(5)的通道将低压连通到上端的隔膜(2)内。在这里,大气压力推开隔膜(2),并将隔膜向下拉向弹簧(3)。气阀(4)被隔膜连接,且被拉开。在这时,空气向上推开气阀的外侧能够拉动弹簧。燃料阀(7)也与气阀(4)连接,也被拉离起始位置,让燃料进入化油器。空气上压隔膜(2),同时围绕在气阀内外和燃气进入体(6)流动。当空气流过燃气进入体(6)时,它与燃料混合。这时空气/燃料混合物向下流向节流板(10),进入分配通路,流向进气集管,最后进入汽缸准备燃烧。
江门Perkins帕金斯1103C-33TG3发动机柴油泵、喷射泵组件去哪找?抚州Perkins帕金斯4012-46TWG2A发动机水温机油压力转速传感器代理商,淮北Perkins帕金斯1104C-44TAG1发动机活塞肖卡簧哪里有?呼和浩特Perkins帕金斯1106D-E70TA发动机销售售后代理商一台多少钱?濮阳Perkins404D-22发动机销售中心联系,